
eadaan pasaran motosikal elektrik Kyang tidak menentu bukanlah penghalang bagi CFMoto untuk membangunkan idea sportbike sifar emisi.
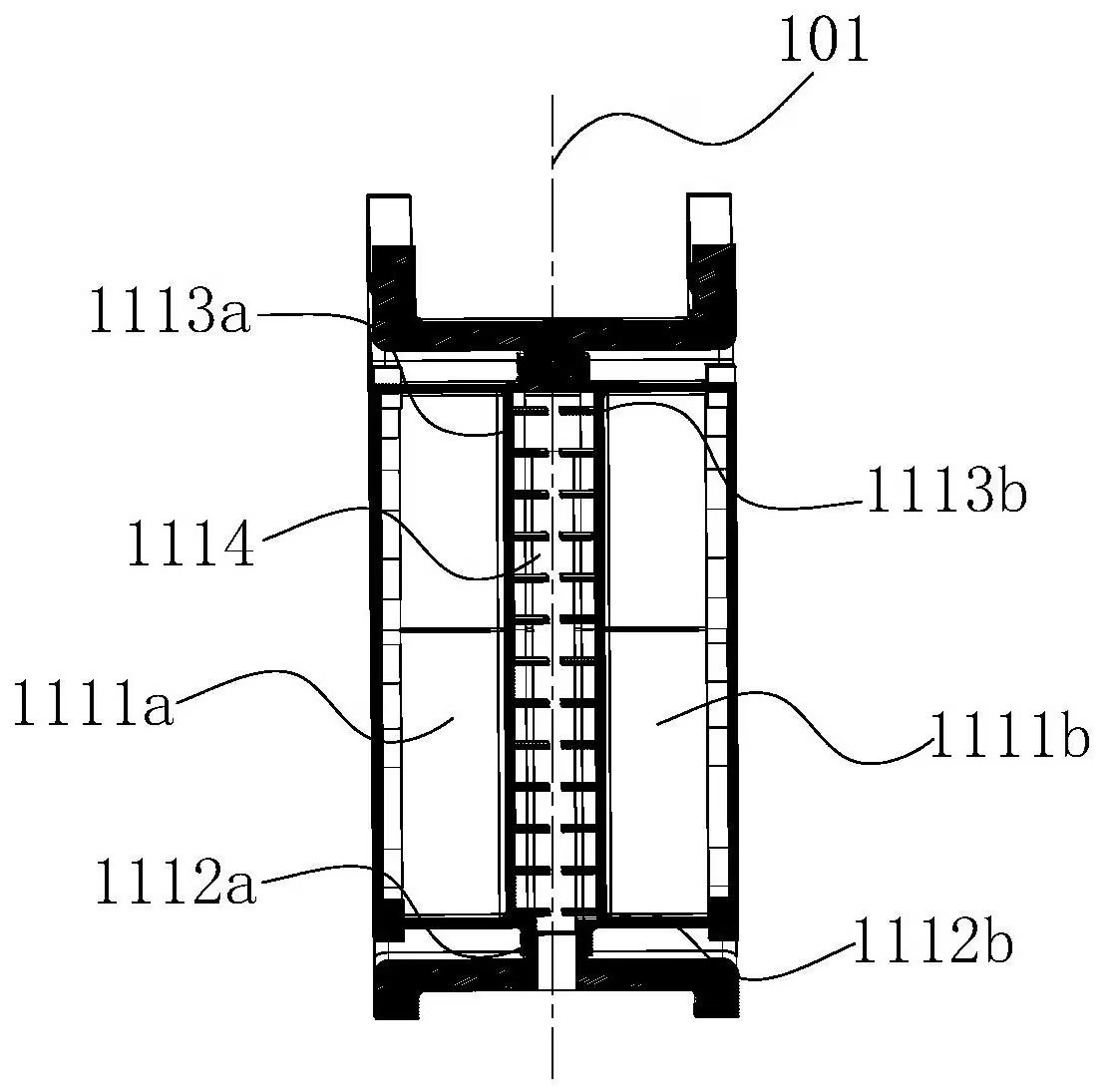
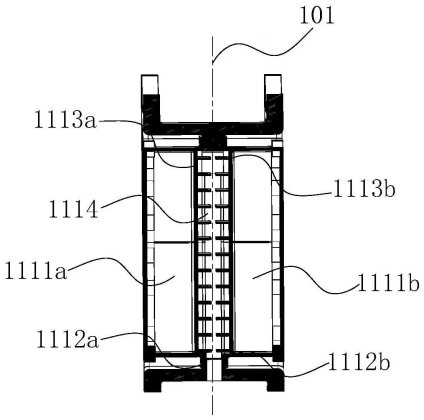
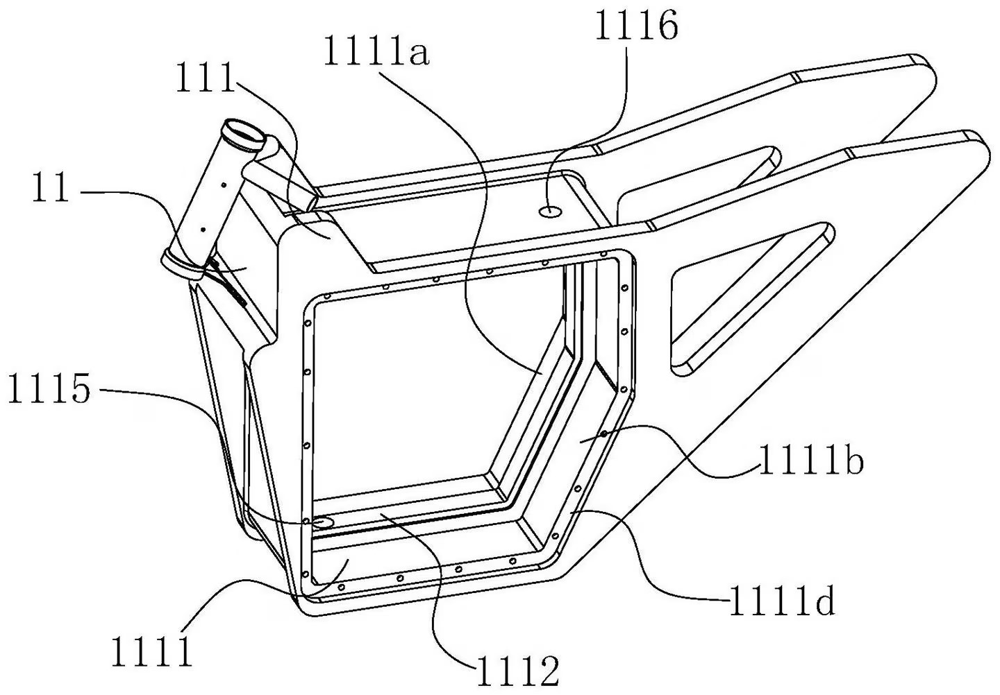
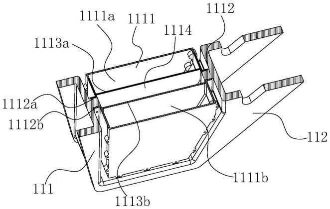
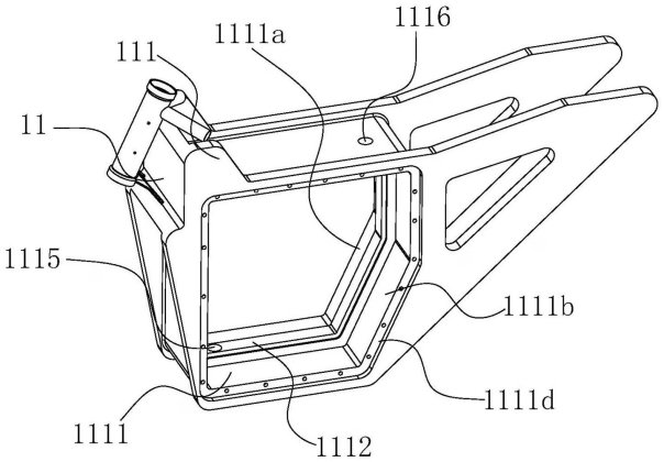
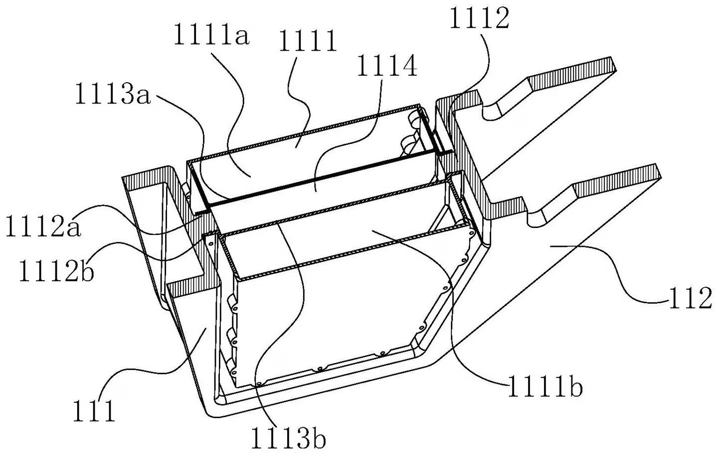
Berdasarkan laporan CycleWorld, sportbike elektrik CFMoto ini bakal menggunakan rekaan kerangka aluminium yang menggunakan perumah bateri sebagai sebahagian daripada struktur casis.
Dengan memindahkan komponen motor elektrik dan transmisi ke belakang, pihak pengeluar boleh memaksimumkan bahagian tersebut dengan memasang dua pek bateri secara menegak.
Setiap pek bateri itu mempunyai sirip penyebar haba yang akan dicelup ke dalam ruang tengah berisi cecair coolant untuk tujuan penyejukan yang lebih berkesan – sangat berguna terutama ketika pengecasan pantas sedang beroperasi.
Slot pengecas dan kawalan elektronik pula akan dipasangkan pada bahagian atas kerangka yang lebih mirip kepada tangki bahan api sportsbike konvensional.
Adakah anda berminat dengan sportsbike elektrik dengan pakej kuasa, pengecasan pantas dan yang paling penting, harga yang lebih mampu beli?

































