
Terdapat beberapa motosikal berkuasa tinggi yang sudah dilengkapi dengan ciri yang biasanya sinonim dengan kereta, seperti contoh sistem kawalan jelajah adaptif dan sistem pemantauan titik buta.
Honda mahu meningkatkan lagi aspek keselamatan penunggang motosikal dengan meneroka sistem bantuan stereng yang dapat mengelak sebarang kemungkinan pelanggaran yang bakal terjadi.
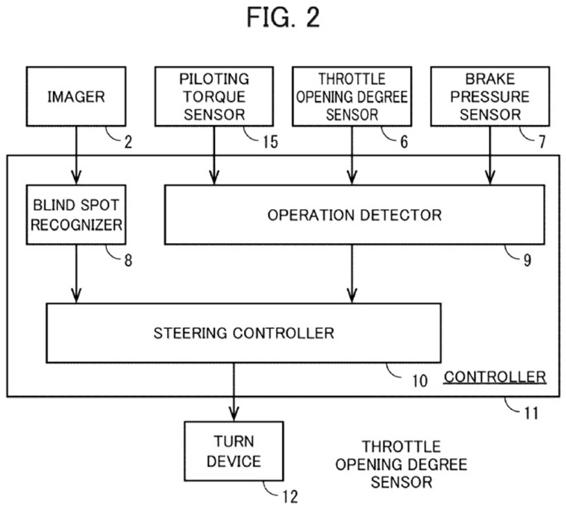
Berdasarkan paten yang didaftarkan di World Intellectual Property Organization (WIPO), sistem ini akan menggunakan pemantauan berasaskan kamera sebelum memberikan amaran dalam bentuk visual atau bunyi kepada penunggang.
Ia juga akan turut memantau beberapa parameter seperti sistem brek, pecutan dan sudut bar hendal dan akan bertindak mengambil alih sistem tersebut untuk membantu penunggang mengelak halangan dengan selamat.
Sekiranya penunggang didapati tidak mengendahkan amaran tersebut, sistem itu akan menambah lebih banyak bantuan pada kawalan bar hendal tanpa menyebabkan situasi panik dan ketidakstabilan tunggangan.
Idea ini mungkin nampak cantik di atas kertas, namun adakah ia benar-benar sesuai untuk diaplikasikan pada motosikal?



































